
里维安的电动卡车和suv都是有能力的机器。每个轮子上都有马达和可调节的长行程悬架,它们可以征服崎岖的地形,轻松牵引,并在极端天气下保持种植。不过,这种能力是有代价的。高扭矩的情况下,如岩石爬行,重型牵引,和湿滑的条件会使电机过热,限制性能。答案吗?当然,每个弯道都有一个固定的低档位变速箱。
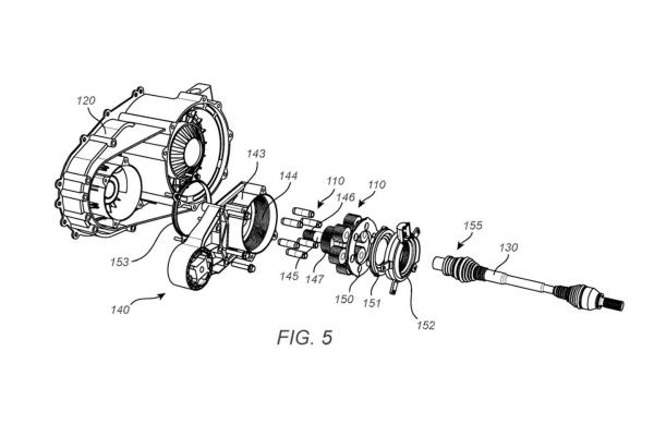
这家年轻的电动汽车制造商刚刚获得了这种设备的专利,据我们所知,这是同类产品中的第一个。根据文件,这四个变速箱将直接安装在现有的驱动单元上,并取代库存轴的内部CV接头。在每个变速箱内,将有一个行星齿轮组提供减速,以及一个执行器接合或脱离低范围。该专利称,降幅可能在1.5:1到5.0:1之间。




这些单元将允许驱动单元中的电机在一个更舒适的操作范围内,以避免过热。变速箱箱还将配备热交换器,这将进一步提高它们的耐用性。
这些设备必须非常坚固,以保持扭矩的驱动单元产生,即使是硬化齿轮和热交换器。Rivian R1T有835马力和908磅英尺的扭矩。它的重量也在7000磅左右。简而言之,它会发出很多咕噜声,而且很重——即使就它本身而言也是如此。

现有的由内燃机驱动的4x4通常采用低档变速箱,但它们只需要一个单元就可以完成工作。具有多个驱动单元的电动汽车通常在向地面输送电力的各个电机之间没有物理互连。因此,需要更多的齿轮减速装置。
我说以前也有人这样做过。它没有。据我们所知,没有其他电动汽车具有这样的功能。如果里维安公司继续把这个装置投入生产,它很可能是第一辆提供低档位变速箱的电动汽车。这会让更多顽固的越野车转向电动汽车吗?我想可能吧。
点击分享到









